孔用YX型密封圈的性能與用途?
來源:廣東東晟密封科技有限公司-www.beastiot.com更新時間:2018-06-05
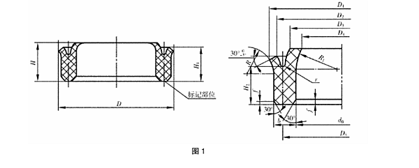
一、YX型密封圈的性能與用途
一種孔用YX型密封圈,產品用途在于往復運動液壓油缸中的活塞密封。適用于一般工程機械液壓缸(通用設備液壓缸)以及高溫、高壓油缸,密封圈材質為聚氨酯、橡膠。東晟密封件告訴您當壓力超過16MPa應加擋圈。

二、密封圈適用工況條件
|
壓力 /MPa
|
溫度 /℃
|
速度 /m/s
|
介 質
|
|
≤30
|
TPU:-40 ~ +80
CPU:-40 ~ +120
|
≤0.5
|
液壓油、化液、水、氣等
|
了解更多密封問題,就在東晟密封件廠家網哦!
本文章來自于網絡共享,東晟密封件dshmfcom